文档资料说明
发布时间:2026-01-09 点击率:247
一、文档资料
1、文档类型维护
常用文档资料的类型,比如投标资料、中标通知书、开工资料等,如下图
2、文档目录维护
常见文档资料的目录需要提前维护好,以便后期资料上传时选择。如下图
常用的操作有添加、编辑、删除、上移、下移、授权和修复目录路径。
授权:用于授权当前目录的权限,权限分为查看和修改,可以设置为公共目录(查看权限),也可设置为公共目录(修改权限)。如下图所示,
点击添加,可以根据用户和部门,给予用户和部门相应的查看和修改权限。如下图
3、单据附件归档目录定义
用于业务单据中附件进行归档的目录。如下图
此情况是在单据中直接选择归档目录,在单子保存后,自动归档到对应目录中。如下图
4、单据附件归档
可对单一业务单据附件进行批量归档,如下图
5、文档存放位置维护
用于实体文档存储位置的维护。如下图
6、文档资料
用于上传公司或项目非单据类文档资料。
左侧选择目录,点击添加,输入文档名称,选择文档类型,若是电子档,勾选电子文档,文件名称处选择文件上传,输入版本号等,如果是实体文档,无需上传文件,但需选择存放位置,如下图所示
文档日期中,还可以输入,当前文档文号,来文方和接收方等。
保存后,可以点击发起按钮,发起审批流程。
更新:对上传文档资料的内容进行更新,版本要相应变化,如从1到2.
借阅:只有实体文档可以借阅,电子文档不可借阅。
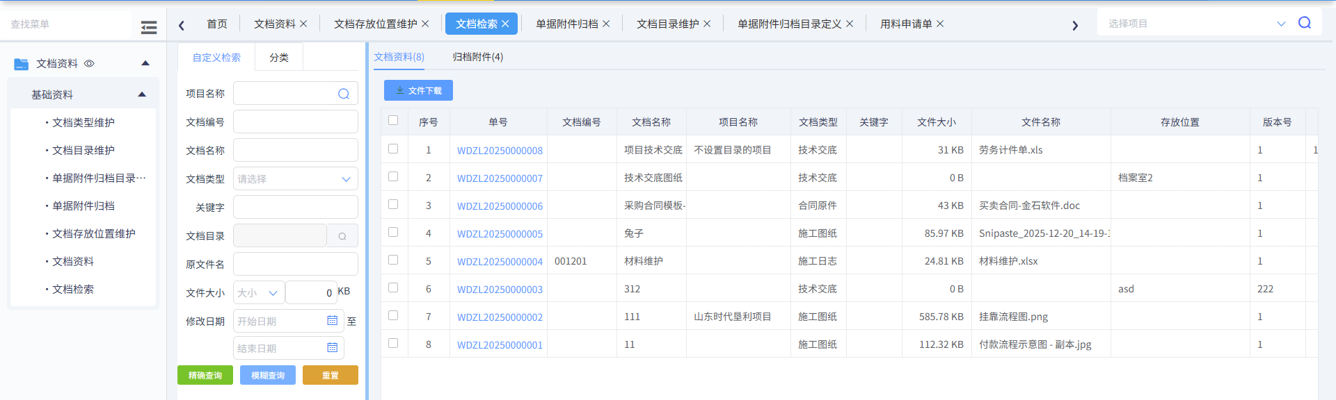
7、文档检索
文档检索,用于查询、查看和下载文档资料上传和单据附件归档后的资料文件,
自定义检索,可根据项目名称、文档类型等快速查询目标文档,如下图所示
分类检索,按照分类,快速找到对应目录或业务单据的文档资料。如下图


